Обувь для виртуальной реальности запатентовали в Google
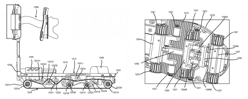
“Виртуальные” ботинки похожи на роликовые коньки, но вместо колес у них беговые дорожки. Об этом сообщает TradeMaster.UA со ссылкой на The Verge.
Новые ботинки позволят “двигаться, оставаясь на месте”. Полезны они будут тем, кто уже приобрел VR-шлем, и теперь хочет не только стоять, но и ходить в виртуальном пространстве (не наталкиваясь на мебель в своей комнате).
Создание патента еще не означает, что Google начнет производить VR-обувь. Пока что в изобретении есть много спорных моментов: так, ботинки часто рассинхронизируются друг с другом, а темп беговой дорожки не всегда соответствует привычной для пользователя походке. Не исключено, что первые желающие “побродить в виртуальной реальности” будут часто падать, либо получать синяки от столкновения с предметами окружающего пространства.
Читайте также: Amazon призвали убрать товары с символикой ДНР
![]() |
![]() |
![]() |
![]() |
![]() |
![]() |
|
![]() |
![]() |
![]() |
![]() |
![]() |
По поводу размещения Ваших материалов на портале пишите на press@trademaster.com.ua
Ексклюзивні матеріали TradeMaster.ua
Раздел: Товари та ринки > Все новости
Теги: Google, VR, виртуальная реальность, инновации, патент
Коментарі
Ваш коментар буде першим.Додати коментар




































